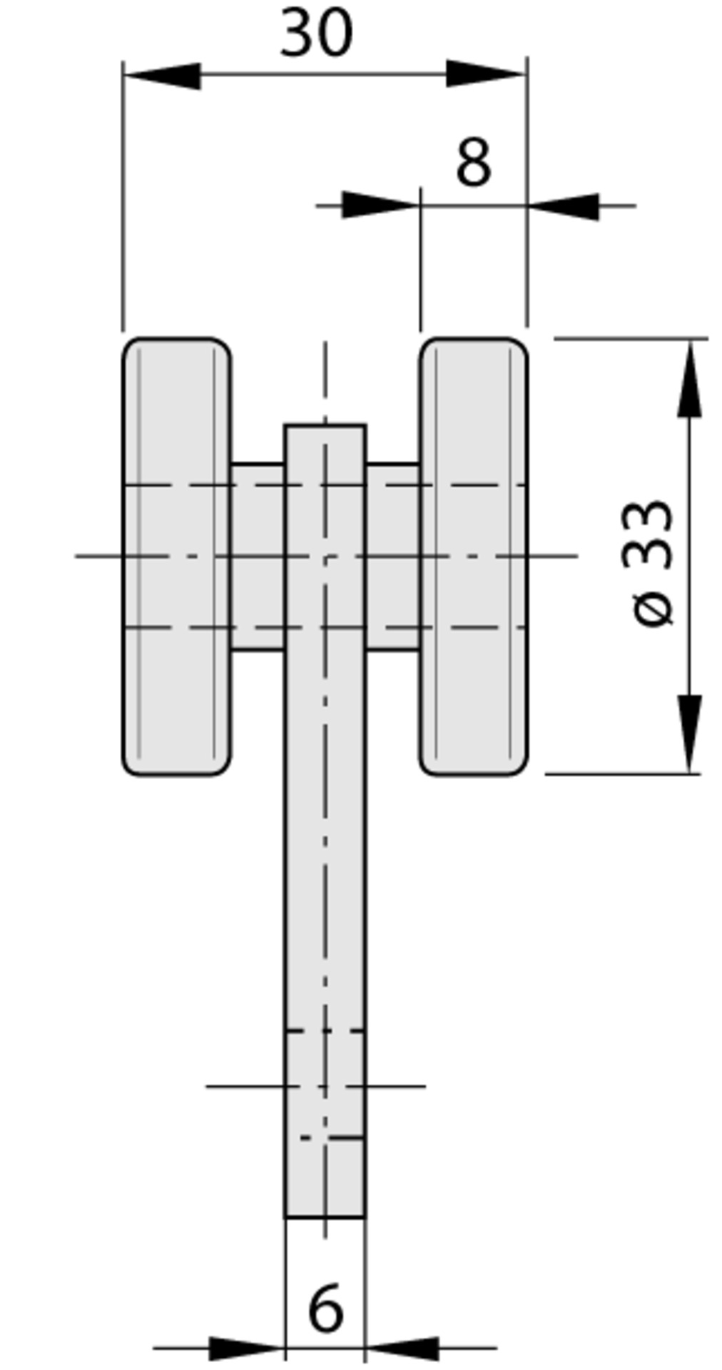
Laufwagen doppelpaarig 40mm mit Lasche

Artikel-Nr.: 232 956 000

Spezifikationen

Werkstoff: Stahl, verzinkt
Ausführung: doppelpaarig
Tragfähigkeit: 357 N
Gewicht ca.: 0,25 kg/Stk
Verpackungseinheit: 1 ST